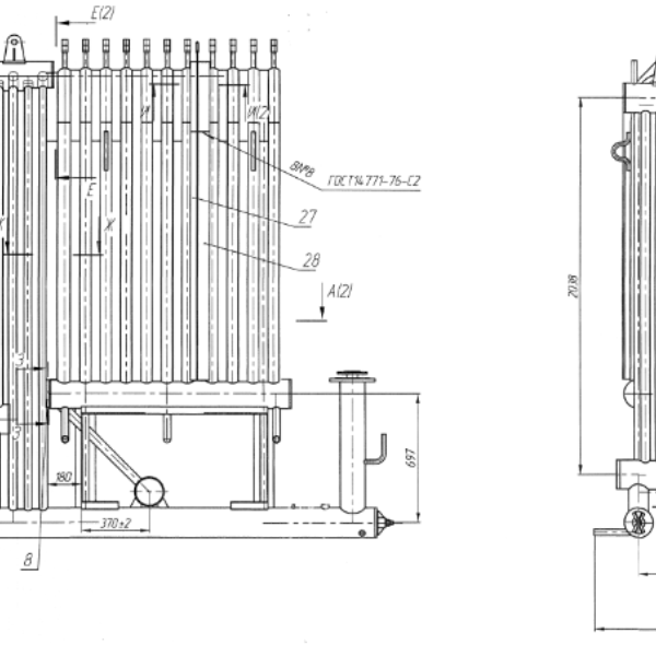
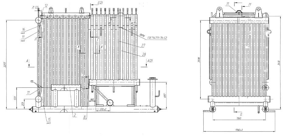
Устройство
Трубные системы котлов ДЕ 4-14 есть не что иное, как комплект разных труб, предназначенный для ремонта вышедших из строя элементов котла. Располагаются в топочной камере сбоку или сзади, в зависимости от типа котла. Трубы, входящие в состав комплекта, отливаются из стали и не имеют сварных швов.
Основная функция – это нагрев теплоносителя (воды).
Приобрести товар
Вы можете оставить заявку на сайте – наш специалист перезвонит вам в течение нескольких минут и даст исчерпывающую консультацию. Также вы можете связаться с нами по телефону. Оборудование поставляется с нашего завода-изготовителя в полной комплектации, со всеми необходимыми документами и гарантией.


